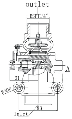
| U403 Series Emergency Shut-off Valve are installed on fuel supply lines beneath at grade level to minimize hazards associated with collision or fire at the dispenser. If the dispenser is pulled over or dislodged by collision, the top of the valve breaks off the flow of fuel. Single-poppet models shut off supply flow, while double-poppet models shut off supply as well as prevent release of fuel from the dispenser's internal piping. The base of the Emergency Valve is securely anchored to the concrete dispenser island through a stabilizer bar system within a U-Bolt Assembly. Valve inlet (bottom) connection are female pipe threads and outlet (top) connections are available with female threads, male threads, or a union fitting. Other options include suction system models with a normally closed secondary poppet which maintain prime, and models with external threads on inlet body which connect to secondary containment system. |
|
| Materials: |
| Body: |
cast iron(Spray-paint) |
| Surface: |
electronic Nickel plated |
| Seal : |
Buna-N O-ring |
|
| Features : |
 |
Flow rate: 0- 120 L/M |
 |
Working pressure: 0.2Mpa |
 |
Valve closing speed: 0.5s |
 |
Lowest shut-off temperature: 75 ℃ |
 |
Medium: water, gasoline, diesel, and kerosene |
 |
Operating Environment: -30 ~+55℃ |
 |
Fire Protection- a fusible link trips the valve closed at 75 to shut off fuel
supply to the dispense. |
 |
Integral Test Port - a 3/8" Test Port allows the piping system to be air tested
without breaking any piping connection. |
 |
Low-Profile Tops- Female and Union-top double-poppet valves have a low-profile top to allow upgrading from single-poppet valves without changing existing piping. |
 |
100% Factory Tested. |
|
| Replacement Parts: |
| Key |
Description |
Weight |
| 1 |
Protect pin |
|
| 1 |
Cap(Single) |
0.795kg |
| 2 |
Cap(Double) |
0.895kg |
|
| Package: |
| Net Weight |
Cross Weight |
Dimension |
| 18kg/case of 6 |
20kg/case of 6 |
37.5x13.5x39 cm /case of 6 |
|
| Ordering Specifications: |
| Product ID |
Connection Threads |
Outlet |
Poppet
configuration |
| U403-A |
NPT 1 1/2 ″(female) |
NPT 1 1/2 ″(female) |
Single |
| U403-A2 |
NPT 1 1/2 ″(female) |
NPT 1 1/2 ″(female) |
Double |
| U403-B |
NPT 1 1/2 ″(female) |
BSPT 1 1/2 ″(female) |
Single |
| U403-B2 |
NPT 1 1/2 ″(female) |
BSPT 1 1/2 ″(female) |
Double |
| U403-C |
NPT 1 1/2 ″(female) |
BSPT 1 1/2 ″(male) |
Single |
| U403-C2 |
NPT 1 1/2 ″(female) |
BSPT 1 1/2 ″(male) |
Double |
| U403-D |
NPT 1 1/2 ″(female) |
NPT 1 1/2 ″(male) |
Single |
| U403-D2 |
NPT 1 1/2 ″(female) |
NPT 1 1/2 ″(male) |
Double |
| U403-E |
BSPT 1 1/2 ″(female) |
NPT 1 1/2 ″(female) |
Single |
| U403-E2 |
BSPT 1 1/2 ″(female) |
NPT 1 1/2 ″(female) |
Double |
| U403-F |
BSPT 1 1/2 ″(female) |
BSPT 1 1/2 ″(female) |
Single |
| U403-F2 |
BSPT 1 1/2 ″(female) |
BSPT 1 1/2 ″(female) |
Double |
| U403-G |
BSPT 1 1/2 ″(female) |
NPT 1 1/2 ″(male) |
Single |
| U403-G2 |
BSPT 1 1/2 ″(female) |
NPT 1 1/2 ″(male) |
Double |
| U403-H |
BSPT 1 1/2 ″(female) |
BSPT 1 1/2 ″(male) |
Single |
| U403-H2 |
BSPT 1 1/2 ″(female) |
BSPT 1 1/2 ″(male) |
Double |
| U403-I |
NPT 2 ″(male) |
NPT 1 1/2 ″(female) |
Single |
| U403-I2 |
NPT 2 ″(male) |
NPT 1 1/2 ″(female) |
Double |
| U403-J |
NPT 2 ″(male) |
BSPT 1 1/2 ″(female) |
Single |
| U403-J2 |
NPT 2 ″(male) |
BSPT 1 1/2 ″(female) |
Double |
| U403-K |
NPT 2 ″(male) |
NPT 1 1/2 ″(male) |
Single |
| U403-K2 |
NPT 2 ″(male) |
NPT 1 1/2 ″(male) |
Double |
| U403-L |
BSPT 2 ″(male) |
BSPT 1 1/2 ″(female) |
Single |
| U403-L2 |
BSPT 2 ″(male) |
BSPT 1 1/2 ″(female) |
Double |
| U403-M |
BSPT 2 ″(male) |
NPT 1 1/2 ″(female) |
Single |
| U403-M2 |
BSPT 2 ″(male) |
NPT 1 1/2 ″(female) |
Double |
| U403-N |
BSPT 2 ″(male) |
BSPT 1 1/2 ″(female) |
Single |
| U403-N2 |
BSPT 2 ″(male) |
BSPT 1 1/2 ″(female) |
Double |
| U403-O |
BSPT 2 ″(male) |
NPT 1 1/2 ″(male) |
Single |
| U403-O2 |
BSPT 2 ″(male) |
NPT 1 1/2 ″(male) |
Double |
| U403-P |
BSPT 2 ″(male) |
BSPT 1 1/2 ″(male) |
Single |
| U403-P2 |
BSPT 2 ″(male) |
BSPT 1 1/2 ″(male) |
Double |
|
| Important: |
| The products should be used in compliance with applicable country, province and local Laws and regulations. Products selection should be based on physical Specifications and limitations and compatibility with the environmentand materials to be handled. HONGYANG makes no warranty of fitness for a particular use. All illustrations and Specifications in this literature are based on the latest products information available at the time of publication,HONGYANG reserves the right to make changes at any time in price, materials. Specifications and models and to discontinue models without notice or obligation. |
|
YES, I am interested in your product, please contact me!